咨询热线
电话
咨询热线:
QQ
在线沟通:
微信
扫一扫关注
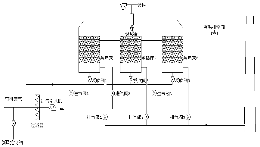
网站首页:其它装备:VOSc治理装备
蓄热式热力氧化炉——RTO的工作原理:把有机废气加热升温至760~800℃左右,使废气中的VOC氧化分解为无害的CO2和H2O;氧化时高温气体的热量被蓄热体“贮存”起来,用于预热新进入的有机废气,从而节省升温所需要的燃料消耗,降低运行成本。
扫一扫关注微信