联系人:孔经理
服务热线:010-87238219
手机:13810783939
传真:010-67857211
公司邮箱:market06@bjsri.cn
1. 产品概述
大型固定式处理机组,用于处理高浓度、高盐度有机废液。通过高温火焰对被处理物料进行瞬时加热,并通过一定时间的保温,使之发生快速蒸发及氧化反应,去除其中的盐分和有机份,并充分回用系统热能,对物料进行预热或预浓缩,降低系统能耗。处理过程清洁、环保。处理量≥100t/d。
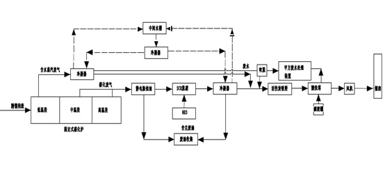
2. 工作原理及构成
废液经过系统余热预热、浓缩后喷入专用焚烧炉膛,在天然气火焰中发生水分的快速蒸发、有机份的充分裂解,通过控制尾气的剩余氧含量调节助燃空气的注入量。盐分在炉底输出,烟气从炉顶输出。烟气经旋风除尘后进入后处理环节,主要进行脱销处理、热量回收、酸性气体洗涤等,确保尾气达标排放。无机盐等固态渣经螺杆输送机冷却输出,作为融雪剂等的初级原料。系统通过将洗涤浓液回送至原料罐,可实现无废液外排。
系统包括:原料罐、浓缩液罐、定量泵送单元、闪解炉、旋风除尘器、换热器、脱硝装置、洗涤系统、控制系统等组成。其原理如下图所示:
3. 应用范围
本系统可处理:高有机废液、高盐度废液。
4. 技术功能及特点
4.1 专用炉体,适应废液焚烧作业;
4.2 余热利用充分,热量梯级利用,处理成本低;
4.3 自动化程度高,液晶面板操作,降低操作难度,避免人员伤害;
4.4 立体设计,占地面积小,维护容易
扫一扫关注微信